您好,欢迎进入xk星空体育直播平台官方网站!

与时俱进,诚赢客户

龙门吊、提梁机、星空体育官方账号生产厂家

服务电话:13782575673

龙门吊百科

您现在所在位置:首页>>起重资讯>>龙门吊百科

龙门吊大车端梁和连接的设计计算

本文链接://m.xlhydra.com/gsxw/535.html   发布时间:2021-03-15 03:02:59  点击量:1157

  1、大车的端梁设计计算

  根据大车端梁的设计(图4-50),P1、P4的计算(P1、P4的计算参见本例后面的大车轮压计算),可得以下参数:

  P1=109.09kN;P4=106.55kN;L1=262mm;L2=676mm;L=1450mm;h1=101mm;h=300mm;t1=10mm;I1x=0.004×109mm4;S1=53875.6mm3;I2x=0.077×109mm4;y21=187.3mm;S2=350813mm3;I3x=0.077×109mm4;y31=187.3mm;S3=350813mm3;I4x=0.0096×109mm4;S4=95062.5mm3。

  所选端梁截面符合要求。

  2、大车端梁的连接梁设计计算

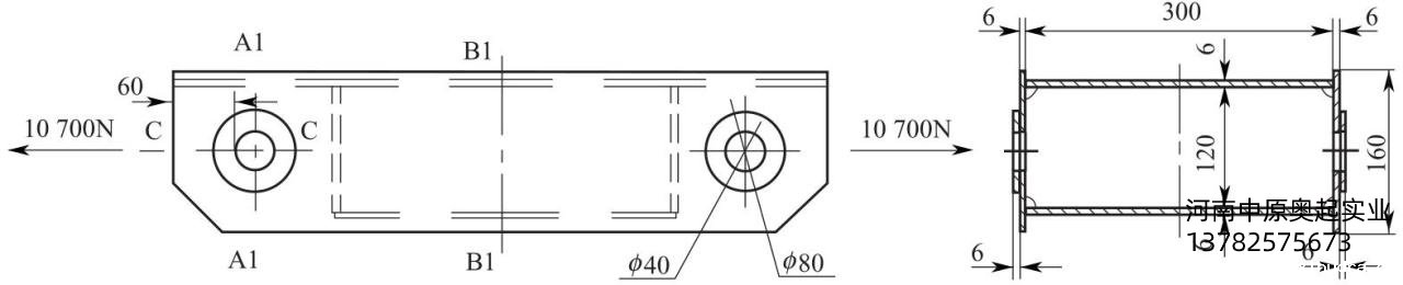
  根据连接梁的设计可得以下参数(图4-51):

  t1=6mm;t2=6mm;t3=6mm;t4=6mm;b=300mm;h=120mm;H=160mm;F=10700N;d=30mm;D=80mm;m=50mm;ζ1取2.8;ζ2取1.8;ζ3取1.5;ζ4取1.6;


图4-51例1的连接梁示意图(单位:mm)

图4-51例1的连接梁示意图(单位:mm)

  连接梁符合要求。

文章聚合页面:

联系我们

CONTACT US

联系人:徐经理

手机:13782575673

电话:0373-8611375

邮箱:hnzyaqqz@126.com

官网:m.xlhydra.com

地址:河南长垣起重工业园区华豫大道中段

Baidu
map