生产车间应用的双梁桥式起重机举升组织一般选用液压制动器,工作中时要依据工作任务的规定将其开展调节,制动系统的调节主要包含轴荷的调节、瓦块退距(推进器赔偿行程安排Hb)的更改和退距平等的调节。针对带全自动弥补设备制动系统而言,各类调节关键在初装时(应用前)和拆换新的摩擦衬垫后必须开展。在应用全过程中如无异常情况,一般不用调节。下面讲解下双梁桥式起重机液压制动器怎么调。

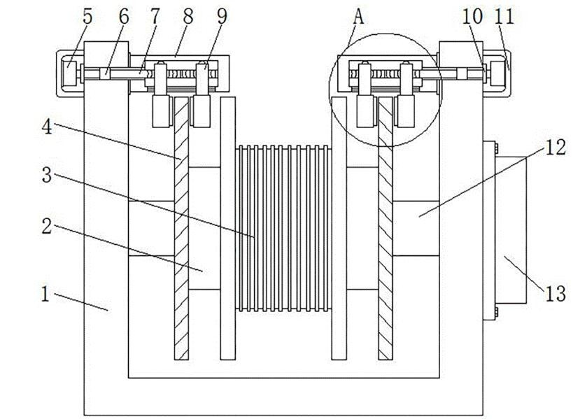
调整瓦块退距,实际上也是调整推进器的行程安排。在制动系统中,拧松防松螺母,顺时针方向扭紧制动系统支撑杆则扩大推进器赔偿行程安排,相反则降低推进器赔偿行程安排。把赔偿行程安排hc调节*标准值就可以。若推进器赔偿行程安排调得很大,就必须拧出赔偿紧定螺钉地脚螺栓,取下赔偿套,这时拨销不会受到三角板的阻拦,可以反方向随意旋转。这时就可以再反方向拧松制动系统支撑杆,*终还原,再次调节赔偿行程安排和自行弥补设备。
瓦块退距平等设备一般不用开展调节,仅仅在**次或是重装后才必须调节。方式是,手动式或电动式开启制动系统,观查上下的瓦块退距。假如右侧的瓦块退距超过左侧的瓦块退距,就拧松左边的紧定螺钉螺帽,顺时针方向旋转调整地脚螺栓(或是拧松右边的紧定螺钉螺帽,反方向旋转调整地脚螺栓),观查上下瓦块退距的转变。若不一,则再次,直到相同才行。平等杆杠应当处在大概水准情况,不然,必须挪动制动系统基座的部位,使制动系统轴线与刹车轮轴线大概重叠。
轴荷的调节非常简单,只需调节扭矩螺帽。一般地,用扳子顺时针方向拧扭矩调整螺帽扭簧长短减短,轴荷扩大,相反也是。扭簧长短不能超出扭矩尺标上的上、下示线,不然,很可能会毁坏扭簧,导致制动系统工作中失效,乃*导致**生产事故!
(1)把赔偿设备拨远销舒张压到*底端(与赔偿套内孔的下表层触碰)。
(2)拧紧松定地脚螺栓,直到其下内孔处于赔偿套的内孔以外。
(3)手动式或是全自动伸出推进器摆杆,这时拨销被带上。随后手动式释放出来或是给推进器关闭电源,使摆杆在制动系统扭簧下的效果下校准,这时拨销的部位会被压下去一点。
(4)向下扭紧定地脚螺栓,直到其下内孔与拨销基本上触碰才行,拧紧紧定螺钉螺帽。
全自动弥补设备*此调节结束。